養豬場消毒設備有哪些
1、人員、車輛清潔消毒設施。凡是進場人員都必須經過溫水徹底沖洗、更換場內工作服,工作服應在場內清洗、消毒,更衣間主要設有更衣柜、熱水器、淋浴間、洗衣機、紫外線燈等。
2、集約化豬場原則上要保證場內車輛不出場,場外車輛不進場。為此,裝豬臺、飼料或原料倉、集糞池等設計在圍墻邊??紤]到其他特殊原因,有些車輛必須進場,應設置進場車輛清洗消毒池、車身沖洗噴淋機等設備。
3、環境清潔消毒設備國內外常用的環境清潔
消毒設備有以下三種:
(1)地面沖洗噴霧消毒機。
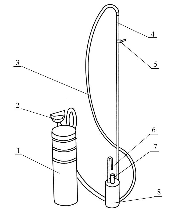
94×P220沖洗噴霧消毒機,工作時,柴油機式電動機起動,帶動活塞和隔膜往復運動,清水或藥液先吸入泵室,然后被加壓經噴槍排出。該機工作壓力為15~20千克/厘米2,流量為20升/分鐘,沖洗射程12~14米,是工廠化豬場較好的清洗消毒設備。
其主要優點是:
①高壓沖洗噴霧,沖洗徹底干凈,節約用水和藥液;
②噴槍為可調節式,既可沖洗,又可噴霧;
③活塞式隔膜泵可靠耐用;
④體積小,機動靈活,操作方便;
⑤工效高,省勞力。
(2)火焰消毒器。用藥物消毒平均殺菌率只有84%,達不到殺菌率95%以上的要求。因此,一般豬場必須采用藥物消毒兩遍,這就加大了工作量和作業成本。此外,用藥物消毒殘留較多,而火焰消毒克服以上缺點?;鹧嫦酒魇抢妹河透邷仂F化,劇烈燃燒產生高溫火焰對舍內的豬欄、飼槽等設備及建筑物表面進行瞬間高溫燃燒,達到殺滅細菌、病毒、蟲卵等消毒凈化目的。
其優點主要有:
①殺菌率高達97%;
②操作方便、高效、低耗、低成本;
③消毒后設備和欄舍干燥,無藥液殘留。
(3)臭氧發生器。臭氧投放在養豬場可以殺毒滅菌防止病毒迅速傳播,同時也能改善空氣質量。
養殖場使用臭氧發生器能有效低病害,尤其是室內養殖,例如養豬、氧禽類等效果尤其明顯。臭氧(03)是高效廣譜殺菌劑,具有高效殺菌消毒、保鮮除臭的作用,并且無二次污染,無衛生死角,在世界范圍的食品領域被廣泛應用。

①臭氧對物料、飼料的消毒
②臭氧對豬舍消毒
③臭氧對豬舍飲用水的消毒
④臭氧在輸送管道及容器的消毒
標簽:
養豬場
消毒設備